अभ्यास के प्रश्नों के उत्तर
(a) चुंबकीय क्षेत्र की क्षेत्र रेखाएँ तार के लंबवत् होती हैं।
(b) चुंबकीय क्षेत्र की क्षेत्र रेखाएँ तार के समांतर होती हैं।
(c) चुंबकीय क्षेत्र की क्षेत्र रेखाएँ अरीय होती हैं जिनका उद्भव तार से होता है।
(d) चुंबकीय क्षेत्र की संकेंद्री क्षेत्र रेखाओं का केंद्र तार होता है।
उत्तर-(d) चुंबकीय क्षेत्र की संकेंद्री क्षेत्र रेखाओं का केंद्र तार होता है।
(a) किसी वस्तु को आवेशित करने की प्रक्रिया है।
(b) किसी कुंडली में विद्युत् धारा प्रवाहित होने के कारण चुंबकीय क्षेत्र उत्पन्न करने की प्रक्रिया है।
(c) कुंडली तथा चुंबक के बीच आपेक्षिक गति के कारण कुंडली में प्रेरित विद्युत् धारा उत्पन्न करना है। (d) किसी विद्युत् मोटर की कुंडली को घूर्णन कराने की प्रक्रिया है।
उत्तर-(c) कुंडली तथा चुंबक के बीच आपेक्षिक गति के कारण कुंडली में प्रेरित विद्युत् धारा उत्पन्न करना है।
(a) जनित्र
(b) गैल्वनोमीटर
(b) गैल्वनोमीटर
(c) ऐमीटर
(d) मोटर
उत्तर-(a) जनित्र।
(a) ac जनित्र में विद्युत् चुंबक होता है जबकि dc मोटर में स्थायी चुंबक होता है।
(b) dc जनित्र उच्च वोल्टता का जनन करता है।(c) ac जनित्र उच्च वोल्टता का जनन करता है।
(d) ac जनित्र में सर्दी वलय होते हैं जबकि dc जनित्र में दिक्परिवर्तक होता है।
उत्तर-(d) ac जनित्र में सर्दी वलय होते हैं जबकि dc जनित्र में दिक्परिवर्तक होता है।
(a) बहुत कम हो जाता है।
(b) परिवर्तित नहीं होता।
(c) बहुत अधिक बढ़ जाता है।
(d) निरंतर परिवर्तित होता है।
उत्तर-(c) बहुत अधिक बढ़ जाता है।
(a) विद्युत् मोटर यांत्रिक ऊर्जा को विद्युत् ऊर्जा में रूपांतरित करता है।
(b) विद्युत् जनित्र विद्युत् चुंबकीय प्रेरण के सिद्धांत पर कार्य करता है।
(c) किसी लंबी वृत्ताकार विद्युत् धारावाही कुंडली के केंद्र पर चुंबकीय क्षेत्र समांतर सीधी क्षेत्र रेखाएँ होता है।
(d) हरे विद्युत्रोधन वाला तार प्रायः विद्युन्मय तार होता है।
उत्तर-
(a) गलत।
(b) सही
(c) सही।
(d) गलत
उत्तर-
(i) स्थायी चुंबक
(ii) विद्युत् चुंबक
(iii) पृथ्वी का चुंबकीय क्षेत्र।।
उत्तर- परिनालिका चुम्बक की भाँति व्यवहार करती है। जब परिनालिका द्वारा विद्युत् धारा प्रवाह की जाती है तो इसके भीतर चुम्बकीय क्षेत्र रेखाओं की दिशा समान हो जाती है और इसका एक सिरा उत्तर ध्रुव तथा दूसरा सिरा दक्षिण ध्रुव की तरह व्यवहार करता है।
किसी छड़ चुंबक की सहायता से किसी विद्युत् धारावाही परिनालिका के दोनों ध्रुवों का निर्धारण किया जा सकता है। यदि छड़ चुम्बक का उत्तर ध्रुव परिनालिका के एक सिरे की तरफ आकर्षित होता है तो वह सिरा परिनालिका का दक्षिण ध्रुव है और यदि उनके बीच प्रतिकर्षण होता है तो वह सिरा परिनालिका का उत्तर ध्रुव है।
उत्तर-किसी चुंबकीय क्षेत्र में स्थित विद्युत् धारावाही चालक पर आरोपित बल तब अधिकतम होता है जब विद्युत् धारा की दिशा चुंबकीय क्षेत्र की दिशा के लंबवत होती है।
उत्तर- फ्लेमिंग के वामहस्त नियम के अनुसार आरोपित बल की दिशा चुंबकीय क्षेत्र तथा विद्युत् धारा दोनों की दिशाओं के लंबवत् होती है। विद्युत् धारा की दिशा इलेक्ट्रॉनों की गति की दिशा के विपरीत होती है। इसलिए चुंबकीय क्षेत्र की दिशा नीचे की ओर होगी।
उत्तर-एक यंत्र जो विद्युत् धारा को यांत्रिक ऊर्जा में बदल सकता है उसे विद्युत् मोटर कहते हैं।
जब आयताकार कुंडली को शक्तिशाली चुंबकीय क्षेत्र में रखा जाता है तो यह यांत्रिक बल का कार्य करती हुई निरंतर घूमती है। यह सिद्धांत पूर्ण रूप से गैल्वनोमीटर तथा अन्य विद्युत् उपकरणों में कार्य करता है। यह फ्लेमिंग के बायें हाथ सिद्धांत पर आधारित है।
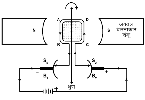
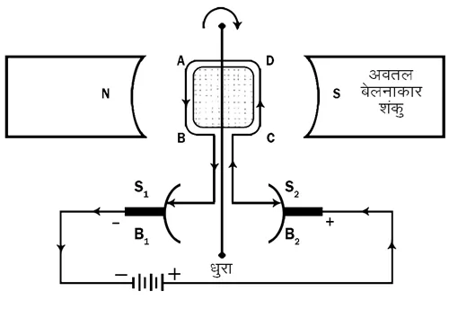
रचना-विद्युत् मोटर के निम्नलिखित भाग हैं.
(i) केंद्रक (Core) – यह नर्म लोहे का बना सिलेंडर है जिसे एक Axle (धुरे ) पर लगाया जाता है। Axle सरलता से घूमने वाले बॉल-बियरिंग पर टिका होता है। इसके एक तरफ शाफ़्ट लगी होती है जो शक्तिशाली चुंबकीय क्षेत्र को उत्पन्न करने का कार्य करता है जब इसके चारों ओर की कुंडली से धारा प्रवाहित की जाती है।
(i) कुंडली (Coil) -नर्म लोहे के टुकड़े को केंद्र मान कर उस पर तांबे की तार को को लपेट कर कुंडली बनाई जाती है जिसे चित्र में ABCD के रूप में दिखाया गया है। इसका कार्य विद्युत् क्षेत्र को बनाना है। इसमें से विद्युत् धारा प्रवाहित की जाती है।
(iii) कॉम्यूटेटर (Commutator) -दो बंटी हए S1 और S2 मुद्रिकाएं कॉम्यूटेटर को प्रदर्शित करती हैं। इनके सिरों को कुंडली के साथ जोड़ दिया जाता है। इसके बीचो-बीच से Axle (धुरा ) गुजरता है। इसका कार्य प्रत्येक अर्ध चक्र के बाद विद्युत् धारा की दिशा को बदलना है।
(iv) ब्रश (Brushes) -B1 और B2 कार्बन या गनमैटल के बने हुए ब्रुश हैं जो कड़ियों S1 और S2 के साथ मजबूती से संबंध बनाए रखते हैं। घूमती हुई कुंडली को निरंतर विद्युत् धारा प्रवाहित कराते रहना इनका कार्य है।
(v) अवतल बेलनाकार चुंबक (Concave Cylindrical Magnet)-कुंडली को अवतल बेलनाकार चुंबक के बीच में रखा जाता है। इसका कार्य शक्तिशाली चुंबकीय क्षेत्र को बनाना है ताकि यांत्रिक ऊर्जा की प्राप्ति की जा सके।
(vi) बैटरी (Battery) -दिष्ट विद्युत् धारा (D.C.) या अनेक सैलों की बैटरी को शक्ति स्रोत के रूप में प्रयुक्त किया जाता है। इसका कार्य कुंडली को धारा प्रदान करना है।
कार्य (Working)
जब ABCD कुंडली क्षैतिज स्थिति में अवतल सिलेंडरीकल चुंबकों के बीच में होती है तो चुंबकीय क्षेत्र कुंडली के समांतर होता है। जब कुंडली में से विद्युत् धारा गुजारते हैं तो चुंबकीय क्षेत्र को उत्पन्न करता | है जो कुंडली के तल के साथ समकोण बनाता है। कुंडली चुंबकीय जोड़े के प्रभाव से घूम जाती है। फ्लेमिंग के बायें हाथ के नियम के अनुसार AB खंड ऊपर की ओर घूमेगा। कुंडली के खंड CD में विद्युत् धारा C से D और चुंबकीय क्षेत्र उत्तर से दक्षिण की ओर घूमता है। CD नीचे की ओर गति करेगा। दो बराबर और परस्पर विरोधी शक्तियां कुंडली पर घड़ी की सूई की दिशा (Clock wise) कार्य करती हैं। और उसे घुमाती हैं। जैसे ही कुंडली 90° पर घूमती है। इसका चुंबकीय क्षेत्र अवतल बेलनाकार चुंबक के चुंबकीय क्षेत्र के समांतर हो जाता है जिस कारण यह रुक जाता है पर संवेग के कारण यह अपना चक्कर पूरा कर लेता है जब तक कि यह 180° पूरा नहीं कर लेता।

कड़ी S, 180° के बाद कॉम्यूटेटर के ब्रश B, के साथ जुड़ती है और कड़ी S, ब्रश B, से अलग हो जाती है। इससे कुंडली में CDAB से BADC धारा की दिशा का प्रत्यावर्तन हो जाता है।
इस प्रकार कुंडली निरंतर घड़ी की सूई की दिशा में घूमने लगती है।
विद्युत् मोटर में विभक्त वलय दिपरिवर्तक का कार्य करता है। यह परिपथ में विद्युत धारा के प्रवाह को Excited करने में सहायता देता है। विद्युत धारा के Excited होने पर दोनों भुजाओं पर आरोपित बलों की दिशाएं भी Excited हो जाती हैं। कुंडली की पहली भुजा को पहले नीचे धकेली गई थी वह ऊपर धकेली जाती है और ऊपर वाली भुजा नीचे धकेल दी जाती है। प्रत्येक आधे घूर्णन के बाद यह क्रम दोहराया जाता है और कुंडली और धुरी का लगातार घूर्णन होता रहता है। |